Program examples


Industrial condensate pump station
Problem/Opportunity – Create a housing for a condensate pump housing that enhances the brand image
Solution – Sheet metal housing with distinctive hole pattern, prominent brand image/badge, and appropriate ergonomic interface
Tools used – Team development, sketching visualization, rapid full scale mock up, CAD modeling


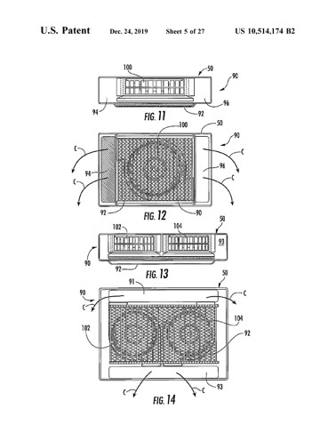
Split air-conditioning outdoor unit
Problem/Opportunity – Explore novel aesthetic configurations and manufacturing methods for the outdoor unit air-conditioning unit
Solution – Aesthetically pleasing air flow vent patterns and durable manufacturing methods for the high volume manufacturing methods
Tools used – CAD modeling and rendering


Stand mounted sleep fan concept
Problem/Opportunity – Create a filtered fan for sleep comfort
Solution – Complete assembly for high volume manufacturing of fan and filter
Tools used – Team development, sketching visualization, CAD modeling. iterative concept models


Integrated display on refrigerator door
Problem/Opportunity – Create a concept exploring the collision of display technology with a refrigerator
Solution – Use a transparent display to integrate with the refrigerator door assembly
Tools used – Sketching visualization, CAD modeling, rendering and animation



Wall mounted sleep fan concept
Problem/Opportunity – Create a wall mounted, filtered fan for sleep comfort
Solution – Complete assembly for high volume manufacturing of fan and filter
Tools used – Team development, sketching visualization, CAD modeling. iterative concept models



Split air-conditioning indoor unit
Problem/Opportunity – Explore novel, aesthetically appropriate minimal height structures for the air flow configurations
Solution – Low profile fans to in aesthetically pleasing housing configurations
Tools used – Small design team brainstorming, extensive product platform and manufacturing knowledge, CAD visualization and rendering software



Refrigeration platform design
Problem/Opportunity – Explore meaningful novel configurations of refrigerators for global markets
Solution – Multidoor novel configurations that are appropriate for the consumer market
Tools used – Small design team brainstorming, extensive product platform and manufacturing knowledge, CAD visualization and rendering software



Furniture ideation
Problem/Opportunity – Create a chair utilizing natural sustainable materials
Solution – Leverage the creativity of image artificial intelligence to rapidly explore novel configurations
Tools used – Artificial intelligence program and associated targeted prompts



Desk lamp ideation
Problem/Opportunity – Create concepts for a desktop lamp
Solution – Leverage the creativity of image artificial intelligence to rapidly explore novel configurations
Tools used – Artificial intelligence program and associated targeted prompts




PLA (Product Lifestyle Appliances) product line and brand language development
(work done at Whirlpool Corporation)
Problem/Opportunity – Create a brand and product line to expand appliance market to younger consumers
Solution – Create an innovative appliance/furniture system product line that meets the price points and needs of the consumers
Tools used – Cross functional team development, story telling, consumer/product market research, CAD visualization, prototype development, trial markets


Concept development exploring CNC cutting with no fasteners
Problem/Opportunity – High volume, 3/4″ plywood, no fasteners, outdoor seating, flatpack shipping and storage
Solution – Parts CNC cut from 4′ x 8′ 3/4″ plywood, no fasteners, flat packed to minimize shipping costs
Tools used – Story telling, parametric CAD modeling, foam board modeling, image rendering


Concept development exploring face mask construction
Problem/Opportunity – High volume, reusable face masks with proper fit
Solution – Insert molded filter, formed material, modular system with silicone dual edge seal and single strap
Tools used – Story telling, parametric CAD modeling, facial scans, image rendering


Air conditioning filtration system
(work done at Whirlpool Corporation)
Problem/Opportunity – Development of split air conditioner in-door-unit that includes a flexible filtration system
Solution – Visualization of patent-able concept to protect the idea
Tools used – Cross functional team, CAD modeling, prototyping, image rendering, patent


Concept creation for refrigerator manufacturer
(work done at Whirlpool Corporation)
Problem/Opportunity – Revitalization of commodity product while exploring new streams of revenue
Solution – Improved aesthetics, integration of lighting technologies, integration of revenue generating display panels, integration of commodity liquid container for through door dispensing, customization of front panels
Tools used – Story telling, cross functional team, project management, visual brand language development, hand sketching, vector and raster image creation and exploration, ergonomic envelopes applications and experimentation, color and material development, CAD modeling, prototyping, image rendering


Chess set exploration of gyroid geometry
Problem/Opportunity – Exploration of gyroid geometry as applied to a chess set
Solution – CAD geometry creation of complex surface geometry exploring aesthetic options
Tools used – Parametric CAD modeler with various topological fill geometry


Concept creation and execution for exercise equipment manufacturer
(work done at Volan Design)
Problem/Opportunity – Technology and mechanical system commercial exercise product creation and launch
Solution – Development and application of branded ‘ski’ machine product setting up a series of branded exercise products
Tools used – Story telling, cross functional team, project management, visual brand language development, hand sketching, vector and raster image creation and exploration, ski machine prototype mechanisms, ergonomic envelopes applications and experimentation, aluminum extrusion manufacturing, injection molding, pressure forming, painting, artwork development and labeling, color and material development, CAD modeling, prototyping, image rendering

Biopsy needle concept and execution
(work done at Volan Design)
Problem/Opportunity – Bone marrow biopsy needle ergonomic improvements and market differentiation
Solution – Novel, patented, ergonomically efficient hand tool that minimize fatigue and increases control for an invasive procedure
Tools used – Story telling, cross functional team, user on site research, form modeling, hand sketching, vector and raster image creation and exploration, prototype mechanisms, ergonomic testing and experimentation, image rendering
Concept creation and prototype development
Problem/Opportunity – Hand tool ergonomic improvements and clutter minimization
Solution – Create a ergonomically efficient hand tool system minimizing storage drawer clutter cost effectively
Tools used – Story telling, visual brand language development, hand sketching, vector and raster image creation and exploration, prototype mechanisms, ergonomic envelopes applications and experimentation, color and material development, CAD modeling, prototyping, image rendering




Concept creation and prototype development
Problem/Opportunity – Custom clocks utilizing ‘one off’ techniques that bring value to a commodity product
Solution – Create a series of aesthetically pleasing materials and techniques on a common platform of components
Tools used – Story telling, hand sketching, vector and raster image creation and exploration, clock mechanisms, color, fabrication techniques, material development, parametric CAD modeling, prototyping, image rendering


Concept creation and visualization
Problem/Opportunity – Use of imagery to create customized furniture at reasonable prices
Solution – Black and white images can be used to create ‘relief maps’ for surfaces that can be produced with rapid prototyping techniques and then applied to standard furniture sizes as a personalized module
Tools used – Story telling, photography, image creation and exploration, prototype CAD modeling


Concept development exploring solar energy
Problem/Opportunity – Cordless personal comfort for free
Solution – Common solar charged battery used to power a family of products – Light, fan, air cleaner, heater
Tools used – Story telling, brand language development, 5V battery technology, high volume manufacturing techniques, solar panel recharging, parametric CAD modeling, image rendering


Concept development exploring mental health
Problem/Opportunity – Single and lonely in a connected world
Solution – ‘Dinner with Mom’ connected furniture
Tools used – Story telling, flat monitor technologies, ergonomic envelopes, furniture manufacturing techniques, parametric CAD modeling, image rendering


Concept development low voltage system
Problem/Opportunity – Exploration power pack or Qi charger on a desktop system using a common brand language
Solution – 5V power pack/light pace and/or wall adapter with copper wire, weighted or marble base
Tools used – Story telling, 5V power pack, parametric CAD modeling, 3D printer prototyping, capacitance switching, model making


Concept development exploring habits and technologies
Problem/Opportunity – Remember where I read that?
Solution – Novel digital hi-lighter memory stylus
Tools used – Story telling, parametric CAD modeling, image rendering




